Apple最近在美國專利及商標局申請一項名為「可彎曲裝置相機系統」的專利,顯示Apple積極為可摺疊iPhone做準備。而最新傳聞更指Apple計劃明年推出可摺疊iPhone 。
Apple在申請專利的文件中指出,這個可彎曲裝置相機會有一個用可彎曲纖維、可彎曲聚合物或其他可彎曲物料來製成的可彎曲相機殼,鏡頭有可能裝在這個相機殻之上。相機殼可以被屈曲成不同的設置方式,例如面向裝置外面的可以是凸起或者凹陷配置,而每個鏡頭均可有各自的取景方向,透過屈曲相機殼以調整鏡頭的方向,令相機能拍攝360度全景照片或者3D影片。
文件又提到這個相機與手機連接的方式可以是有線或無線,意味著這個相機可以放在手機套而不是直接安裝在手機上,用戶可以將手機從手機套拆出來進行拍攝。
市場傳聞Apple正與富士康合作測試兩款摺疊式手機,一款是像Samsung Galaxy Z Fold 2那樣能快速地由iPhone變成 iPad,而另一款則像Samsung Galaxy Z Flip 5G那樣的貝殼式揭蓋,令iPhone變得更小巧。
雖然申請專利並不代表一定會推出產品,但Apple一再申請跟可摺疊手機相關的專利,反映官方真的想在這個領域上尋找推出新產品的可能性。
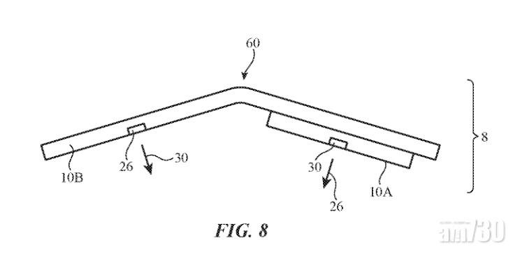
可彎曲裝置相機系統其中一種配設方式,透過彎曲相機殼來改變每個鏡頭的拍攝方向。
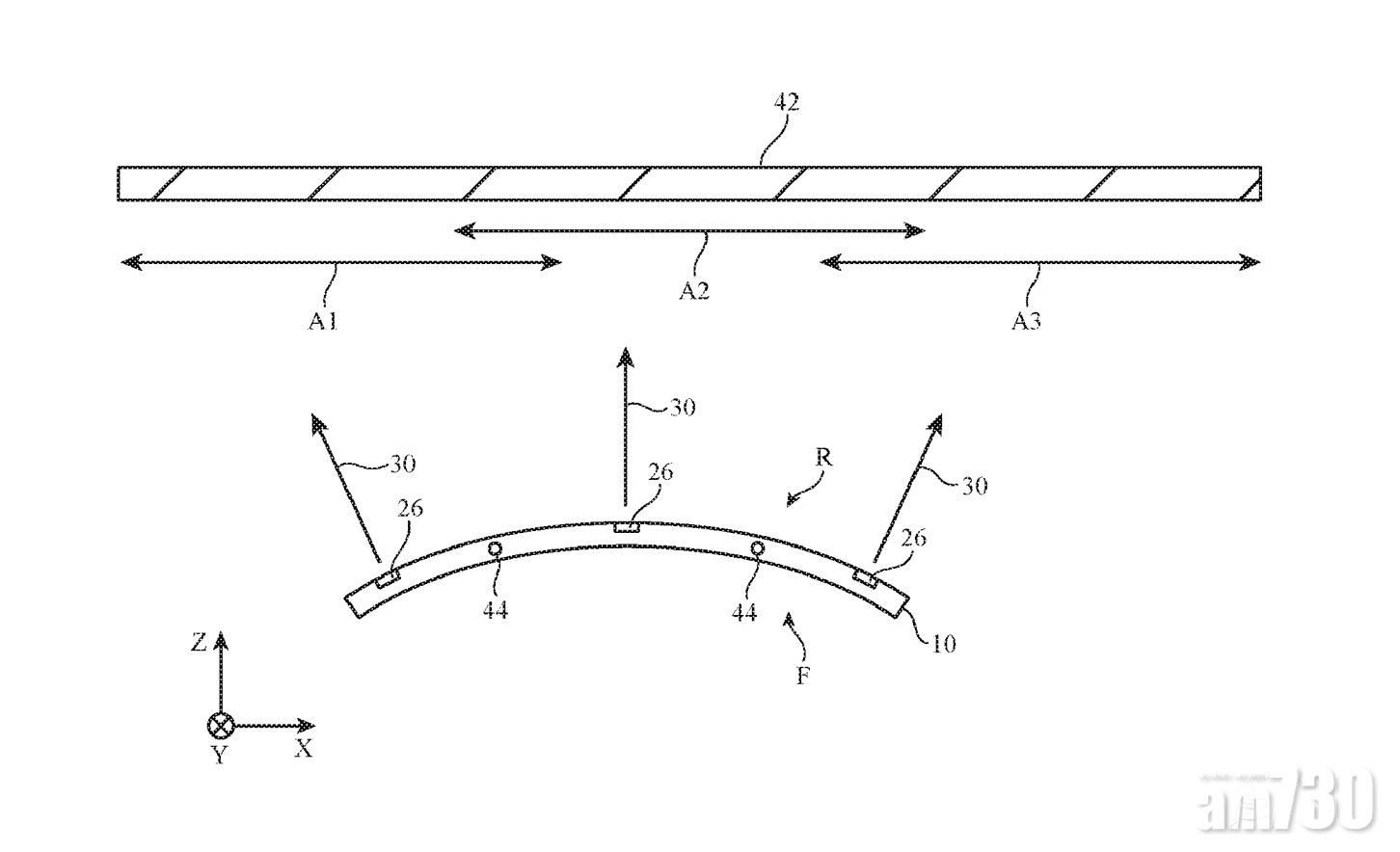
另一種配置中,相機可能會在凸出的相機殻裡,或者嵌入在裝置裡。
彎曲相機殼令三個鏡頭可拍攝一張相片的不同範圍。









